The Shell and Tube Graphite Falling Film Absorber efficiently absorbs gases using corrosion-resistant graphite, ensuring uniform liquid distribution and optimal heat transfer.
Payment:
TT L/C PayPal Westunion MoneygramProduct Origin:
China, Anhui provinceShipping Port:
ShanghaiLead Time:
1 MonthMOQ:
1Package:
Wooden caseColor:
CustomziedMaterial:
GraphiteWorking Temp:
Upper head≤170℃Working Pressure:
Tube pass≤0.1MPa,Shell pass≤0.3MPa

Product review
The equipment is primarily composed of a liquid distributor, a cooling absorption section, and a gas-liquid separator. It offers several advantages, including high absorption efficiency, high absorption intensity, high product acid concentration, low outlet temperature, convenient operation and temperature control, and the elimination of the need to cool and dry the feed gas.

Product advantages
The Shell and Tube Graphite Falling Film Absorber provides outstanding corrosion resistance, high heat transfer efficiency, even liquid distribution, long-lasting durability, and efficient gas absorption even in severe chemical environments.
Structural diagram

| Parts details | |
| 1 | Concentrated acid inlet |
| 2 | Dilution water inlet |
| 3 | Upper cover plate of equipment |
| 4 | Graphite upper head |
| 5 | Cooling water outlet |
| 6 | Graphite mixing chamber cylinder |
| 7 | Graphite mixing outdoor cylinder |
| 8 | Cooling water inlet |
| 9 | Graphite sieve plate |
| 10 | Cooling water outlet |
| 11 | Vent |
| 12 | Equipment support |
| 13 | Shell |
| 14 | Graphite heat exchange block |
| 15 | Drain port |
| 16 | Cooling water inlet |
| 17 | Graphite lower head |
| Model | a | b | c | d | e | f | h | s | Weight kg |
||||
| da/Da | DN | db/Db | DN | DN | DN | de | De | df | Df | DN | DN | Ⅰ/Ⅱ | |
| GX 245-3 | 50/110 | 50 | 70/150 | 80 | 20 | 50 | 75 | 170 | 50 | 130 | 20 | 50 | 395/285 |
| GX 300-5 | 50/110 | 50 | 70/150 | 80 | 20 | 50 | 100 | 200 | 50 | 130 | 20 | 50 | 460/450 |
| GX 350-10 | 50/110 | 50 | 70/150 | 80 | 20 | 50 | 125 | 225 | 70 | 150 | 20 | 50 | 595/565 |
| GX 450-15 | 70/130 | 65 | 100/200 | 125 | 20 | 65 | 150 | 280 | 75 | 170 | 20 | 65 | 870/820 |
| GX 500-20 | 100/170 | 100 | 125/225 | 150 | 25 | 65 | 200 | 335 | 75 | 170 | 25 | 65 | 1035/1020 |
| GX 550-25 | 100/170 | 100 | 125/225 | 150 | 25 | 80 | 200 | 335 | 100 | 200 | 25 | 80 | 1255/1180 |
| GX 600-30 | 125/200 | 125 | 150/280 | 200 | 25 | 100 | 225 | 335 | 100 | 200 | 25 | 100 | 1535/1435 |
| GX 650-35 | 125/200 | 125 | 150/280 | 200 | 25 | 100 | 225 | 335 | 100 | 200 | 25 | 100 | 1825/1700 |
| GX 700-40 | 125/200 | 125 | 150/280 | 200 | 25 | 100 | 250 | 395 | 125 | 225 | 25 | 100 | 2145/1995 |
| GX 800-50 | 125/200 | 125 | 150/280 | 200 | 25 | 125 | 275 | 445 | 125 | 225 | 25 | 125 | 2675/2480 |
| GX 850-60 | 150/225 | 150 | 200/335 | 250 | 32 | 150 | 300 | 445 | 150 | 280 | 32 | 150 | 3280/2985 |
| GX 900-80 | 150/225 | 150 | 200/335 | 250 | 32 | 150 | 300 | 445 | 150 | 280 | 32 | 150 | 3945/3685 |
| GX 1000-100 | 150/225 | 150 | 200/335 | 250 | 32 | 150 | 350 | 495 | 200 | 335 | 32 | 200 | 4595/4305 |
| GX 1100-120 | 150/225 | 150 | 200/335 | 250 | 32 | 150 | 350 | 495 | 200 | 335 | 32 | 200 | 5260/4933 |
| Pressure rating | 0.6 | 0.6 | 1 | 0.6 | 0.6 | 0.6 | 1 | 0.6 | |||||
| Nozzle usage |
Product acid export |
Tail gas outlet | Exhaust port | Water outlet |
Gas inlet | Dilute acid inlet |
Exhaust port |
Water inlet | |||||

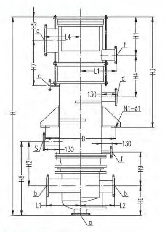
| Model | D | n-Φ | H | H1 | H2 | H3 | H4 | H5 | H6 | H7 | H8 | H9 | L1 | L2 | L3 | L4 |
| GX245-3 | 553 | 2-18 | 4254 | 380 | 355 | 1521 | 464 | 185 | 270 | 285 | 825 | 300 | 273 | 273 | 259 | 276 |
| GX300-5 | 572 | 2-18 | 4309 | 380 | 365 | 1566 | 494 | 200 | 305 | 295 | 825 | 300 | 308 | 303 | 286 | 304 |
| GX 350-10 | 623 | 2-23 | 4374 | 380 | 365 | 1631 | 534 | 225 | 350 | 315 | 835 | 300 | 333 | 328 | 310 | 329 |
| GX 450-15 | 725 | 2-23 | 4496 | 400 | 375 | 1713 | 599 | 257 | 402 | 345 | 885 | 300 | 383 | 378 | 370 | 379 |
| GX 500-20 | 775 | 2-23 | 4591 | 400 | 395 | 1798 | 644 | 297 | 477 | 355 | 905 | 300 | 415 | 405 | 407 | 404 |
| GX 550-25 | 826 | 2-30 | 4658 | 400 | 395 | 1865 | 709 | 299 | 499 | 400 | 905 | 300 | 451 | 446 | 432 | 429 |
| GX 600-30 | 898 | 4-30 | 4793 | 400 | 445 | 1920 | 749 | 354 | 539 | 416 | 950 | 300 | 476 | 471 | 460 | 456 |
| GX 650-35 | 948 | 4-30 | 4920 | 470 | 475 | 1947 | 769 | 361 | 546 | 439 | 1055 | 375 | 501 | 496 | 491 | 481 |
| GX 700-40 | 998 | 4-30 | 5025 | 470 | 485 | 2042 | 844 | 391 | 606 | 476 | 1075 | 375 | 531 | 521 | 516 | 506 |
| GX 800-50 | 1099 | 4-30 | 5102 | 470 | 485 | 2119 | 894 | 418 | 653 | 506 | 1105 | 375 | 581 | 571 | 566 | 556 |
| GX 850-60 | 1150 | 4-30 | 5240 | 540 | 500 | 2180 | 920 | 450 | 680 | 520 | 1190 | 540 | 651 | 631 | 620 | 581 |
| GX 900-80 | 1200 | 4-30 | 5300 | 540 | 520 | 2240 | 960 | 480 | 700 | 540 | 1210 | 540 | 702 | 682 | 670 | 608 |
| GX 1000-100 | 1300 | 4-30 | 5360 | 540 | 540 | 2320 | 1000 | 520 | 720 | 560 | 1230 | 540 | 804 | 784 | 770 | 658 |
| GX 1100-120 | 1433 | 4-30 | 5400 | 540 | 560 | 2400 | 1060 | 560 | 740 | 580 | 1250 | 540 | 906 | 886 | 870 | 708 |
Others